医疗废水处理成套设备价格
医疗废水处理成套设备价格咨询山东广晟环保公司.十年以上研发、销售实力.产品有一体化生活污水处理设备,气浮机,带式污泥脱水压滤机等.品质保证.价格优惠.包安装调试.
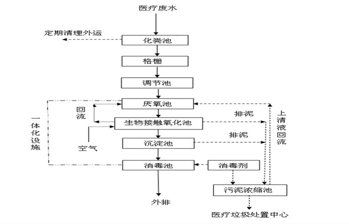
一、医疗废水处理成套设备工艺选型:
随着污水处理工艺的不断进步,医院逐渐引用MBR一体化污水处理设备。相比传统医院污水处理工艺,MBR更能节约消毒剂用量,使接触时间缩短,而且在微生物灭活方面会取得良好的效果,同时也帮助消毒工艺所产生的费用大大降低,消毒剂残留为自然环境消毒剂残留为自然环境所带来的影响随之减少。

二、医疗废水处理成套设备
医院医疗废水的处理流程及工艺医疗污水主要是从医院的诊疗室、化验室、病房、洗衣房、X片照相室和手术室等排放的污水,其污水来源及成分十分复杂。医院污水中除一般生活污水外,还含有大量的病原细菌、病毒和化学药剂、放射性废水和病原体。医疗废水处理工艺还可以说,至于设备就不太好说了,一般是根据工艺和水质水量选择设备型号 医疗废水主要采用的三种工艺有:加强处理效果的一级处理、二级处理和简易生化处理。 医院污水处理所用工艺必须确保处理出水达标,主要采用的三种工艺有:加强处理效果的一级处理、二级处理和简易生化处理。

三、医疗废水处理成套设备特点
1、医院污水处理设备可建于地面以下,地表以上可覆土做绿化带、道路、停车场或其他用地,不占建设用地。投资低,寿命长,一次投入,终生受益。2、二级生物接触氧化处理工艺均采用推流式生物接触氧化,其处理效果优于,其处理效果优于完全混合式或二级串联完全混合式生物接触氧化池。
3、生化池采用生物接触氧化法,其填料的体积负荷比较低,微生物处于自身氧化阶断,产泥量少,仅需三个月(90天)以上排一次泥(用粪车抽吸或脱水成泥饼外运)。
4、整个设备处理系统配有全自动电气控制系统,运行安全可靠,平时一般不需要专人管理,只需适时地对设备进行维护和保养。
5、该污水处理设备为钢结构组成,选择AO法处理工艺,采用先进的防腐技术,使设备具有耐酸、碱、盐、汽油、煤油等,耐老化、耐冲磨,设计防腐寿命达到30年以上。噪音小于二类地区的标准。


返回首页
电话
产品中心